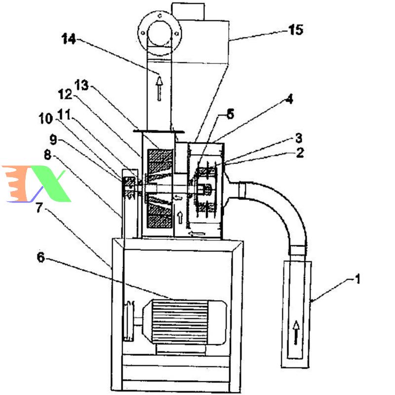
Máy nghiền bột trong chăn nuôi có hữu ích không?
Máy nghiền cám cho gia súc là một thiết bị quan trọng trong ngành chăn nuôi, được sử dụng để nghiền và chế biến cám thành dạng hạt nhỏ, dễ dàng tiêu hóa cho gia súc và gia cầm. Dưới đây là một số đặc điểm, công dụng và cấu tạo chung của máy nghiền cám:

-
Đặc điểm:
-
Chức năng chính: Nghiền cám và các nguyên liệu thức ăn chế biến cho gia súc và gia cầm.
-
Tích hợp khả năng điều chỉnh kích thước hạt nghiền để đáp ứng nhu cầu cụ thể của loài gia súc cụ thể.

-
Công dụng:
-
Tạo ra thức ăn dạng hạt nhỏ: Máy nghiền cám giúp cám trở thành dạng hạt nhỏ, dễ dàng tiêu hóa cho gia súc và gia cầm.
-
Tăng hiệu suất tiêu thụ thức ăn: Việc nghiền cám giúp gia súc tiêu thụ thức ăn một cách hiệu quả hơn, tận dụng tối đa dinh dưỡng từ nguồn thức ăn.
-
Thông số kĩ thuật của máy nghiền cám gia súc, gia cầm, cá NB 500:

-
Khối lượng: Máy: 60 kg/ Cả động cơ: 80 kg
-
Kích thước (Dài x rộng x cao)56*37*127 cm
-
Quy cách: Tuyền động dây đai + Động cơ 3.0 KW - 4.0 HP Lõi đồng
-
Chất liệu: Thép (Sơn tĩnh điện chống mài mòn)
-
Kiểu hoạt động: Động cơ điện AC-220V / AC-380V
-
Công suất: 3.0 KW (4.0 HP)
-
Số vòng quay (/Phút)2'840 r / m (Vòng / Phút)
-
Năng suất: ≤ 500 kg / h
-
Độ bền: > 10 năm
-
Nhiệt độ bảo quản: Nhiệt độ phòng (tránh ánh sáng trực tiếp)
-
Điện áp: 380V AC/220V AC
-
Bảo hành: Đổi mới phụ kiện trong 1 tháng + Hỗ trợ kỹ thuật trọn đờ
Máy nghiền cám nhà Tháp Xanh có một ưu điểm đó là máy sẽ tự động hút nguyên liệu vào máy để máy nghiền cám, bạn sẽ không cần phải xúc từng xẻng nguyên liệu vào máy nghiền nữa. Điều này giúp bạn tiết kiệm thời gian, công sức hơn trước rất nhiều. Từ đó, năng suất sẽ được cải thiện, giúp việc chăn nuôi trở nên đơn giản, dễ dàng.
Máy nghiền cám giúp cải thiện quá trình sản xuất thức ăn cho gia súc và gia cầm bằng cách nghiền cám thành hạt nhỏ, giúp đảm bảo sự tiêu thụ hiệu quả và tối ưu hóa giá trị dinh dưỡng của thức ăn.
Máy có độ bền cao trên 10 năm nên các bạn yên tâm khi mua hàng, đặc biết trong quá trình sử dụng nếu cần hỗ trợ về kĩ thuật, sửa chữa hay đổi mới phụ kiện thì Tháp xanh đều hỗ trợ ạ. Vậy thì còn chần chờ gì mà không nhắc máy lên gọi 0347667006 để được tư vấn hỗ trợ đặt hàng ạ.
Tác giả: Thúy Nga